Описание и характеристики
Устройство защиты электродвигателя МТД-Р "Энергис"
Устройство защиты электродвигателя МТД-Р "Энергис" (монитор тока двигателя) предназначено для измерения тока и защитного отключения электродвигателей и других электроустановок в системах переменного тока частотой 50 Гц, напряжением 220 / 380 В и номинальными токами нагрузки от 5 до 250 А.
Устройство защищает электрооборудование общепромышленного применения от следующих аварийных ситуаций:
- превышение номинального тока в 4 раза;
- перегрузка недопустимой продолжительности;
- недогрузка по току, обрыв фазы по току.
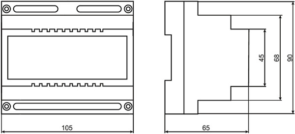
Габаритные и присоединительные размеры

Особенности конструкции
На передней панели прибора расположены 4-разрядный цифровой индикатор, кнопки программирования и управления режимами, индикаторы режимов работы и состояния выходных реле.
Вид с лицевой стороны:
![]() |
Показания на цифровом индикаторе: OL1 - 4-кратная перегрузка (4Iном). |
Функциональные особенности
- Устройство комплектуется тремя тороидальными датчиками тока ДТ005.007-02.
- Возможна настройка по заводским уставкам и автоматическая настройка на номинальный ток электродвигателя (5 - 250 А), что позволяет применять устройство для защиты любых электродвигателей мощностью до 100 кВт.
- Прибор содержит два выходных реле для работы с реверсивной нагрузкой или для работы и предупредительной сигнализации (пуск оборудования, аварийный режим и т.п.).
- МТД коммутирует двумя встроенными реле переменный ток от 0,1 до 8 А при напряжении до 220 В.
- Устройство сохраняет информацию о настройках при отключении питания.
Технические характеристики
| Тип изделия | монитор тока двигателя (устройство защиты электродвигателя) |
| Электропитание устройства | от одной фазы 220 В, 50 Гц трехфазной электросети |
| Мощность, потребляемая устройством, не более, ВА | 10 |
| Номинальная мощность электродвигателя, кВт | 2 - 110 |
| Число контролируемых фаз нагрузки (электродвигатель) | 3 |
| Настройка на номинальный ток нагрузки, А | 5 - 250 |
| Длина линии, соединяющей устройство с датчиками тока, не более, м | 30 |
| Вид работы устройства | непрерывный |
| Рабочая температура, °C | -20... +40 |
| Относительная влажность воздуха при +25 °С, % | до 98 (при отсутствии в воздухе агрессивных паров и газов) |
| Степень защиты от пыли и влаги | IP20 |
| Способ крепления | на DIN-рейку NS 35/7,5 |
| Рабочее положение | вертикальное |
| Вес устройства, не более, кг | 0,5 |
| Вес датчика тока, не более, кг | 0,1 |
