Описание и характеристики
Разъем плоский неизолированный РП-П2,5-(6,3) КВТ
Разъемы плоские неизолированные РП-П предназначены для формирования вибростойких быстроразъемных соединений и оконцевания многопроволочных гибких медных проводов.
Рекомендованы для использования в зонах вибрации и повышенных температур.
Для опрессовки используется двухконтурная матрица МПК-04 КВТ.
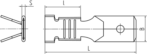
Размеры

| Размеры, мм | |||
|---|---|---|---|
| L | I | B | S |
| 19,8 | 8 | 6,1 | 0,8 |
Материалы
- Латунь марки Л63.
Особенности конструкции
- Поперечные засечки в месте контактного скругления под кабельную жилу увеличивают механическую прочность соединения "разъем - жила".
- Двухконтурный обжим по жиле и изоляции обеспечивает особую механическую прочность и вибростойкость соединений.
- Конструкция клемм предусматривает фиксаторы замкового типа, защелкивающиеся при парном соединении штекерного и гнездового разъемов.
- Размер контакта определяется шириной "В" клеммы РП-П (см. рисунок "Размеры").
Технические характеристики
| Арптикул | 59138 |
| Тип изделия | разъем плоский неизолированный РП-П |
| Исполнение | штекер |
| Максимальное рабочее напряжение, кВ | 0,4 |
| Материал жилы | медь |
| Сечение жилы, кв.мм | 0,75 / 1,0 / 1,5 / 2,5 |
| Класс гибкости жилы | 3 / 4 / 5 / 6 |
| Диапазон рабочих температур, °C | -55... +135 |
| Способ монтажа | опрессовка |
| Срок службы, лет | 25 |