Описание и характеристики
Наконечник кабельный медный ТМ-6-5-4
Наконечник медный ТМ предназначен для оконцевания опрессовкой проводов и кабелей с медными жилами на напряжение до 35 кВ.
Изготовлен по ГОСТ 7386-80.
Опрессовка производится при помощи гидравлического или ручного пресса.
Преимущества
- Существенно повышается качество соединения.
- Улучшается стойкость к неблагоприятным климатическим условиям.
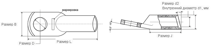
Размеры

| Размеры, мм | |||||
|---|---|---|---|---|---|
| d1 | d2 | J | B | D | L |
| 4 | 6 | 12 | 10 | 5,3 | 32 |
Материалы
- Электротехническая медь марки М2 без покрытия.
Технические характеристики
| Тип изделия | наконечник кабельный медный |
| Рабочее напряжение, кВ | до 35 |
| Номинальное сечение, кв.мм | 6 |
| Сечение кабеля класса гибкости 2, 3, кв.мм | 6 |
| Сечение кабеля класса гибкости 5, 6, кв.мм | 6 |
| Метрический размер контактного стержня | М5 |
| Климатическое исполнение и категория размещения | УХЛ3 |
Расшифровка условных обозначений
